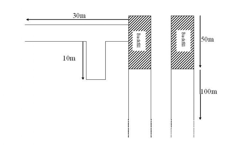
Church Pit vent shaft layout

I hope this sorts out the layout of these shafts.

This photograph is by Mr Pete and was uploaded January 29th 2008. © Mr Pete please do not copy or distribute without prior express permission.

Rating

Nobody has rated this photograph yet, why not be the first?

Copy & Paste Forum Code

To display this photograph in a forum message please copy the text below and paste it into your forum message:

[photo]11855[/photo]

To display this photograph in a forum message and link to the full size image please copy the text below and paste it into your forum message:

[link]11855[linkphoto]11855[/linkphoto][/link]